气动马达控制元件简介
1、压力控制阀
压力控制阀主要有减压阀、溢流阀和顺序阀三类。
一、减压阀
减压阀的作用是降低由空气压缩机来的压力,以适于每台气动设备的需要,并使这一部分压力保持稳定。按调节压力方式不同,减压阀有直动型和先导型两种。
一、直动型减压阀

阀处于工作状态时,压缩空气从走侧入口流入,经阀口11后再从阀出口流出。当顺时针旋转手柄1,压缩弹簧2、3推动膜片5下凹,再通过阀杆6带动阀芯9下移,打开开进气阀口11,压缩空气通过阀口11的节流作用,使输出压力低于输入压力,以实现减压的作用。于此同时,有一部分气流经阻尼孔7进入膜片室12,在膜片下部产生一向上的推力。当推力与弹簧的作用相互平衡后,阀口开度稳定在某一值上,减压阀就输出一定压力的气体。阀口11开度越小,节流作用越强,压力下降也越多。
若输入压力瞬时升高,经阀口11以后的输出压力随之升高,使膜片气室内的压力也升高,破坏了原有的平衡,使膜片上移,有部分气流经溢流孔4,排气口13排出。在膜片上移的同时,阀芯在弹簧10的作用下也随之上移,减小进气阀口11开度,节流作用加大,输出压力下降,直至达到膜片两端作用力重新平衡为止,输出压力基本上又回到原数值上。
相反,输入压力下降时,进气节流阀口开度增大,节流作用减小,输出压力上升,使输出压力基本回到原数值上。
2. 先导型减压阀
由先导阀和主阀两部分组成。当气流从走端流入阀体后,一部分经阀口9流向输出口,另一部分经固定节流孔1进入中气室5,经喷嘴2、挡板3、孔道反馈年至下气室6,再经阀杆7中心孔及排气孔8排至大气。
把手柄旋到一定位置,使喷嘴挡板的距离在工作范围内,减压阀就进入工作状态。中气室5的压力随喷嘴与挡板间距离的减小而增大,于是推动阀芯打开进气阀口9,即有气流流到出口,同时经孔道发馈到上气室4,与调压弹簧相平衡。
若输入压力瞬时升高,输出压力也相应升高,通过孔口的气流使下气室6的压力也升高,破坏了膜片原由的平衡,使阀杆7上升,节流阀口减小,节流作用增强,输出压力下降,使膜片两端作用力重新平衡,输出压力恢复到原来的调定值。
当输出压力瞬时下降时,经喷嘴挡板的放大也会引起中气室5的压力较明显升高,而使阀芯下移,阀口开大,输出压力升高,并稳定到原数值上。
减压阀选择时应根据气源压力确定阀的额定输入压力,气源的最低压力应高于减压阀最高输出压力0.1Mpa以上。减压阀一般安装在空气过滤之后,油雾器之前。
3. 减压阀的应用

(a) 结构原理图 (b)图形符号
1—固定节流孔;2—喷嘴;3—挡板;4—上气室;5—中气室;
6—下气室;7—阀杆;8—排气孔;9—进气阀口
图11.2.3为减压阀应用举例。图11.2.3(a)是由减压阀控制同时输出高低压力p1,p2。图11.2.3(b)是利用减压阀和换向阀得到高低输出压力p1,p2。该回路常用于气动设备之前,可根据需要用听一气源得到两种工作压力。
二、溢流阀
溢流阀的作用是当系统压力超过调定值时,便自动排气,是2系统的压力下降,以保证系统安全,故也称其为安全阀。按控制方式分,溢流阀有直动型和先导形两种。
1. 直动型溢流阀
如图11.2.4所是,将阀p口与系统相连接,O口通大气压力升高,一旦大于溢流阀调定压力时,气体推开阀芯,经阀口从O口排至大气,使系统压力稳定在调定值,保证系统安全。当系统压力低于调定值时,在弹簧的作用下阀口关闭。开启压力的大小与调整谈哈的预压缩量有关。

2. 先导型溢流阀
如图11.2.5 所示。溢流阀的先导阀为减压阀,由它减压后的空气从上部K口进入阀内,以代替直动型的弹簧控制溢流阀。先导型溢流阀适用于管道通径较大及远距离控制的场合。
溢流阀选用时其最高工作压力应略高于所需控制压力。
3. 溢流阀的应用

图11.2.6所示回路中,气缸行程长,运动速度快,如单靠减压阀的溢流孔排
气作用,难以保持气缸的右腔压力恒定。为此,在回路中装有溢流阀,并使减压阀的调定压力低于溢流阀的设定压力,缸的右腔在行程中由减压阀供给减压后的压力空气,左腔经换向阀排气。由溢流阀配合减压法控制缸内压力并保持恒定。
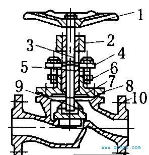
三、顺序阀
顺序阀的作用是依靠气路中压力的大小来控制机构按顺序动作。顺序阀常与
单向阀并联结合成一体,称为单向顺序阀。
1. 单向顺序阀。
图11.2.7 为单向顺序阀的工作原理图,当压缩空气由P口进入腔4后,作用在活塞3上的力小于弹簧2上的力时,阀处于关闭状态。而当作用于活塞上的力大于弹簧力时,活塞被顶起,压缩空气经腔4流入腔5由A口流出,然后进入其它控制元件或执行元件,此时单向阀关闭。当切换起源时(图b所示),腔4压力迅速下降,顺序阀关闭,此时腔5压力高于腔4压力,在气体压力差作用下,打开单向阀,压缩空气由腔5经单向阀6流入腔4向外排出。图11.2.8为单向顺序阀的结构图。

1— 调压手柄;2—调压弹簧;3—活塞;4—阀左腔;6—单向阀
2.顺序阀的应用
图11.2.9所示为用顺序阀控制两个气缸顺序动作的原理图。压缩空气先进入气缸1,待建立一定压力后,打开顺序阀4,压缩空气才开始进入气缸2使其动作。切断气源,气缸2返回的气体经单向阀3和排气孔O排空。

图11.2.8 单向顺序阀结构图
11.2.2 流量控制阀
流量控制阀主要有节流阀,单向节流阀和排气节流阀等。
一、节流阀
节流阀的作用是通过改变阀的通流面积来调节流量。
图11.2.10为节流阀结构图。气体由输入口P进入阀内,经阀座与阀芯间的节流通道从输出口A流出,通过调节螺杆使阀芯上下移动,改变节流口通流面积,实现流量的调节。

1—阀座; 2—调节螺杆; 3—阀芯; 4—阀体
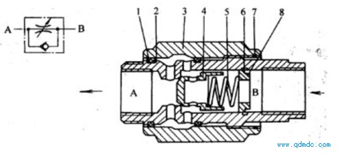
二、单向节流阀
单向节流阀是由单向阀和节流阀并联组合而成的组合式控制阀。图11.2.11为单向节流阀的工作原理图,当气流由P至A正向流动时,单向阀在弹簧和气压作用下关闭,气流经节流阀节流后流出,而当由A至P反向流动时,单向阀打开,不节流。图11.2.12为单向节流阀的结构图。

1— 调节杆;2—弹簧;3—单向阀;4—节流口
一、单向型控制阀
单向型控制阀中包括单向阀,或门型梭阀和快速排气阀。其中单向阀与液压
2、方向控制阀
换向阀的控制端的控制形式有很多种,比如电压、气压、机械压力等,在叙说某个换向阀时,需要加上控制形式的说明,比如“单电控”、“双电控”等。后面所涉及的方向控制阀都是采用电磁力来获得轴向力使阀芯迅速移动来实现阀的切换以控制气流的流动方向,称为电磁控制换向阀。
(1)、单电控二位三通阀
二位三五通的含义是有两个确定的工作状态(两个工作位置)并且总共有五个通气口。同理如果有三个确定的工作状态,并且有五个通气口,那么就是三位五通阀。
图所示为单电控二位三通电磁阀的工作原理图。它只有一个电磁铁。中图为常态情况,即激励线圈不通电,此时阀在复位弹簧的作用下处于左端位置。其通路状态为A与T相通,A口排气。当通电时,电磁铁1推动阀芯向右移动,气路换向,其通路为P与A相通,A口进气所示。右图为其图形符号。
a)工作原理图

b)实物图
图3-4 单电控二位三通阀

(2)、双电控二位五通阀
图为双电控二位五通阀的工作原理图。它有两个电磁铁,当右线圈通电、左线圈断电时,阀芯被推向右端,其通路状态是P与A、B与T2相通,A口进气、B口排气。当右线圈断电时,阀芯仍处于原有状态,即具有记忆性。当电磁左线圈通电、右断电时,阀芯被推向左端,其通路状态是P与B、A与T1相通,B口进气、A口排气。若电磁线圈断电,气流通路仍保持原状态。

a)工作原理图

b)实物图
图3-5 双电控二位五通阀


